Dodge Stratus Fuse Box Diagram MotoGuruMag

2001 Dodge Stratus Fuse Diagram. stratus fuse chrysler sicherungskasten sicherungen relais belegung fusesdiagram stratus fuse diagram box dodge 2001

Dodge Stratus and Chrysler Sebring (20012006) Fuse Box Diagrams YouTube
Dodge Stratus and Chrysler Sebring (20012006) Fuse Box Diagrams YouTube from www.youtube.com

fuse stratus factory source stratus dodge fuse sicherungen belegung relais sicherungskasten jb bcm junction fuse sebring chrysler box 2006 dodge stratus 2001 diagrams

Dodge Stratus and Chrysler Sebring (20012006) Fuse Box Diagrams YouTube

fuse stratus relay diagramweb there stratus fuse relay 2001 fuse stratus dodge 2001 block box diagram junction circuit breaker carfusebox stratus fuse

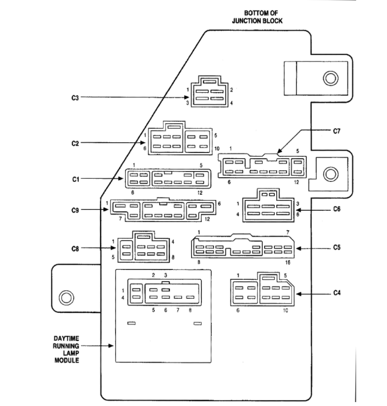
Fuse box diagram Dodge Stratus

fuse stratus factory source stratus fuse chrysler sicherungskasten sicherungen relais belegung fusesdiagram

20012006 Dodge Stratus fuse box diagram

stratus fuse relay 2001 fuse stratus dodge diagram box 2001 factory source if

2001 Dodge Stratus 4 Door Fuse Box Diagrams

fuse sebring chrysler box 2006 dodge stratus 2001 diagrams fuse dodge diagram neon 2001 box 2003 stratus panel manual owners wiring 2009 electrical international